chevron_left
Menu
Turck
search
Ładowanie
add_shopping_cart
Strona główna
Produkty
person
Zaloguj się
arrow_back_ios
arrow_forward_ios
Akcesoria
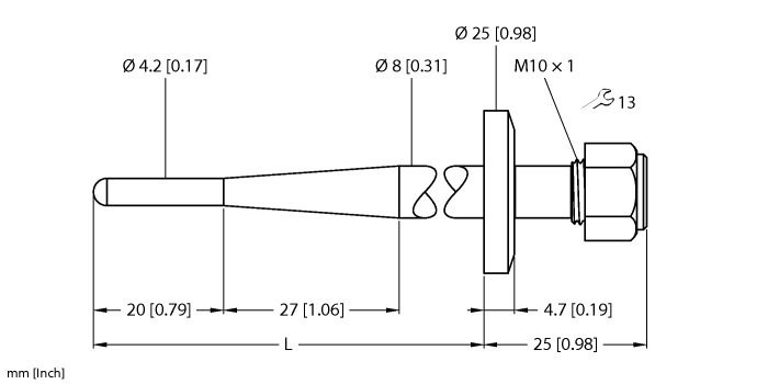
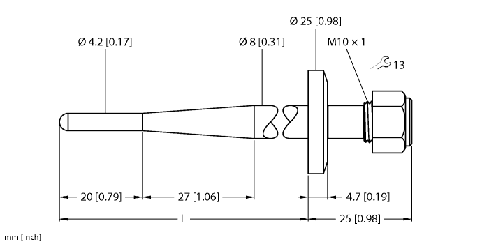
THW-3-TRI3/4-A4-L250
Nr katalogowy 9910454
W magazynie
Grupa cenowa
C1
Cennik
288,35 zł
Pozycja ogółem
288,35 zł
Ilość
−
+
add_shopping_cart
Dodaj do koszyka
Utwórz zapytanie
home
Home
Loading...
Dane techniczne
Akcesoria montażowe dla
Czujnik temperatury
Wykonanie
Akcesoria
Podłączenie procesowe
Tri-Clamp 3/4″
Głębokość zanurzenia L (mm)
250
Sposób detekcji
kontakt z medium
Materiał obudowy
Stal nierdzewna
Wykonanie obudowy
1.4404 (AISI 316L)
Zakres pomiarowy
-50…350 °C
Typ akcesoriów
Gniazdo termiczne
Kluczowe cechy
Typ akcesoriów
Gniazdo termiczne
Materiał obudowy
Stal nierdzewna
home
Turck-Shop
Czujniki
Akcesoria
THW-3-TRI3/4-A4-L250